WST Patente

Die Wirbel Symmetrie Technologien Düsen sind bei folgenden Patentämtern patentiert:

 

Patenturkunde, Europäisches Patentamt
Patenturkunde, Japanisches Patentamt
Patenturkunde, Chinesisches Patentamt
Patenturkunde, Russisches Patent

 

 

 

 

PATENT

 

Misch- und/oder Verwirbelungsvorrichtung und –verfahren

 

Beschreibung

 

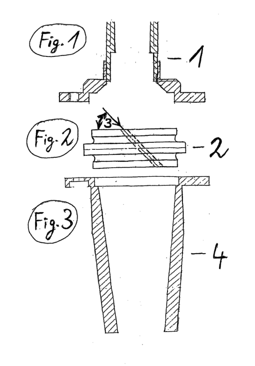
[0001] Bei der Erfindung handelt es sich um eine Misch- u/o. Verwirbelungsvorrichtung (5)       u. -verfahren zum Mischen u./o. Verwirbeln von Flüssigkeiten u./o. Flüssigkeits-Feststoff-Gemischen u./o. Dämpfen u./o. Gasen, umfassend einen Misch- und/oder Verwirbelungs-unterstützer und mindestens eine Durchströmplatte (2), dadurch gekennzeichnet, dass die Durchströmplatte versehen ist mit mindestens drei schräg angeordneten, identischen, in kreisförmiger, gleichmäßiger Lageanordnung verteilten einfach oder paarweise angeordneten Lochformationen, bestehend aus jeweils mindestens zwei Löchern, die nahe aneinander liegen und/oder jeweils in der Durchströmplatte ineinander übergehen, wobei die Abstände zwischen den einfach angeordneten Lochformationen oder den paarweise angeordneten Lochformationen auf der Durchströmplatte jeweils gleich groß sind.

[0002] In der Wasserforschung und Wasserfachliteratur setzen sich seit längerem, besonders aufgrund der Studien und Versuche des Wasser- u. Naturforschers Viktor Schauberger,     Begriffe wie „lebendiges Wasser“, „energiereiches Wasser“, „belebtes Wasser“ oder „vitales Wasser“ immer mehr durch. Gemeint ist damit, dass gutes Wasser neben chemischen und biologischen Qualitäten vor allem auch physikalisch eine gute Qualität aufweisen sollte. Naturbeobachtungen zeigen, dass Wasser und Bewegung sehr häufig untrennbar zusammengehören. Wenn man Wasser in freier Natur beobachtet, bewegt es sich meistens  auf die eine oder andere Weise. Selbst in stehenden Gewässern bilden sich ständig Wasserbewegungen aus zwischen verschiedenen Wasserschichten durch sich ändernde Temperaturen und Wasserdichten. Die Wasserverwirbelung ist eine besonders intensive Wasserbewegung. Wasserverwirbelungen und die dabei auftretenden Prozesse werden   immer häufiger als eine effiziente Methode der Natur gesehen, die Selbstreinigungskräfte     des Wassers anzuregen bzw. freizusetzen und das Wasser in seinem energetischen Zustand zu verbessern. Man redet in diesem Zusammenhang von einer Verbesserung der Energien, Schwingungen und Informationen im Wasser. Es wird angenommen, dass sich die innere Struktur des Wassers verändert, die sog. Clusterstruktur. Darunter versteht man Anhäufungen physikalisch aneinander haftender Wassermoleküle. Wassermoleküle besitzen diese besondere Eigenart, dass sie an einer Stelle leicht positiv und an einer anderen Stelle leicht negativ geladen sind. Hierdurch ziehen sich die Wassermoleküle gegenseitig an. Bei sog. weniger lebendigem Wasser geht man davon aus, dass sich größere Cluster oder „Molekülhaufen“ gebildet haben. Bei intensiven Wasserbewegungen wie der Verwirbelung nehmen einige Forscher an, dass sich größere Cluster in immer kleinere Cluster zerteilen   bzw. auflösen. Nach diesen Erklärungsansätzen bekäme das Wasser hierdurch einen sog. feinverteilteren Zustand und könnte möglicherweise von biologischen Organismen wie Pflanze, Tier und Mensch leichter aufgenommen bzw. verwertet werden. Weiterhin gehen einige Forscher davon aus, dass sich das Wasser in der natürlichen Verwirbelung in freier Natur in einem ausgewogenen Verhältnis anreichern kann mit Luft- u. Lichtkomponenten und neuen

feinstofflichen Energien durch entstehende Torsionskräfte bei der Verwirbelung und die Eigenart der dipolaren Wassermolekülstrukturen, die in besonderer Weise auf Wasser-bewegungen reagieren. Diese Theorien werden kontrovers diskutiert. Es lässt sich jedoch beobachten, dass die Natur in umfassender Weise, in großen Dimensionen und in unzähligen Variationen Wasser- u. Luftverwirbelungen sowie ein weites Spektrum von Verwirbelungen anderer Flüssigkeits-, Dampf- und Gasgemische ausbildet. Wie man auch immer einzelne Theorien beurteilen mag, es scheint gute Gründe dafür zu geben, dass die Natur sich so verhält. Es lassen sich durch naturnahe Verwirbelungen z.B. Geschmack und Aussehen von Wasser verbessern. Das Wasser kann auf natürliche Weise mit Sauerstoff angereichert werden. Es lässt sich beobachten, dass kühl verwirbeltes Wasser über längere Zeit kühl bleibt, selbst wenn die das Wasser umgebende Lufttemperatur sehr viel höher ist, ähnlich wie man das aus der Natur z.B. von Bergbachwasser oder Bergseen im Hochsommer kennt. Eine Verlängerung der natürlichen Haltbarkeitsdauer des Wassers scheint durch Verwirbelung ebenso möglich zu sein. Die hier vorgestellte Erfindung kann je nach Anwendung anhand unterschiedlich konstruierter Durchströmplatten mit darauf abgestimmten Misch- u. Verwirbelungsunterstützern jeweils so aufgebaut werden, dass die in der Natur vorkommenden Misch- u./o. Verwirbelungsabläufe u. -prozesse möglichst naturnah, aber trotzdem in sehr effizienten Intensitäten und Ausprägungen, nachgeahmt werden können. Hierdurch wird es möglich, Vorgänge, Effekte und Ergebnisse, die in der Natur sehr viel mehr Zeit in Anspruch nehmen, in kürzeren Vorgängen effektiv nachzuahmen.       

 

[0003] Unterschiedliche Misch- u./o. Verwirbelungsvorrichtungen u.- verfahren versuchen bereits, Verwirbelungsprozesse nutzbar zu machen. Die vorgestellte Erfindung bedient sich mehrerer Funktionsmechanismen gleichzeitig, um auf möglichst wirksame, aber dennoch naturnahe Weise die Flüssigkeits- u./o. Luft- u./o. Dampf- u./o. Gasqualitäten zu verbessern. Der japanische Wasserforscher Masaru Emoto berichtet  in seinen Büchern über Wasser davon, dass Wasser ein äußerst empfindliches und empfindsames Medium ist, das sogar auf menschliche Emotionen und auf Töne in erstaunlicher Weise reagieren kann. Die hier beschriebene Erfindung versucht derartige Phänomene und Beobachtungen zu berücksichtigen. Da die Misch- u./o. Verwirbelungsvorrichtung  in intensiven Kontakt mit  Dämpfen u./o. Gasen  u./o. Flüssigkeits-Feststoff-Gemischen u./o. Flüssigkeiten wie z.B. Wasser kommt, wird angenommen, dass die hier vorgestellte Erfindung selbst auch zu einem Überträger von Schwingungen und Informationen auf das zu mischende u./o. verwirbelnde Medium wird. Die Erfindung wird deshalb durch unterschiedliche Prozesse, Verfahren und Methoden energetisch gereinigt und dazu angeregt, für Dämpfe u./o. Gase u./o. Flüssigkeits-Feststoff-Gemische u./o. Flüssigkeiten wie z.B. Wasser nützliche Energien und Schwingungen möglichst aufzubauen und anzuziehen, um den Flüssigkeiten u./o. Flüssigkeits-Feststoff-Gemischen u./o. Dämpfen u./o. Gasen ein möglichst förderliches und naturnahes Umfeld zu bieten. 

 

 

 

[0004] Nachdem Flüssigkeiten u./o. Flüssigkeits-Feststoff-Gemische u./o. Dämpfe u/o. Gase in die Misch- u./o. Verwirbelungsvorrichtung eingeflossen sind, treffen sie auf eine Durchström-platte, die auf spezielle Weise mit Löchern versehen wurde.  Es lassen sich durch den möglichen Einsatz unterschiedlicher Durchströmplatten die Misch- u./o. Verwirbelungsabläufe  variieren, um ganz unterschiedliche Effekte und Ergebnisse erzielen zu können. Obwohl die unterschiedlichen Durchströmplatten sich voneinander unterscheiden , weist die Konstruktion der aufgeprägten Löcher u./o. Lochformationen auf diesen Durchströmplatten folgende Merkmale auf:

 

- Auf einer Durchströmplatte sind alle dort aufgebrachten Löcher u./o. Lochformationen in der gleichen Lochdrehrichtung, im Uhrzeigersinn rechtsdrehend oder gegen den Uhrzeigersinn linksdrehend, angeordnet.

 

- Die in gleicher Lochdrehrichtung angeordneten Löcher u./o. Lochformationen sind entweder alle in gleichen Winkelgrößen auf einer Durchströmplatte aufgebracht oder die Löcher liegen in bestimmten Anordnungen in unterschiedlichen Winkeln so auf einer Durchströmplatte, dass es zu zusätzlichen lokalen Vermischungen u./o. Verwirbelungen an diesen Stellen kommt innerhalb der Gesamtvermischung u./o. Gesamtverwirbelung.

 

- Die Löcher u./o. Lochformationen sind symmetrisch u./o. gleichmäßig auf einer Durchströmplatte verteilt. Dies ist notwendig, damit geordnete u./o. naturnahe u./o. intensive Wirbel erzeugt werden können.

 

[0005] Nachdem Flüssigkeiten u./o. Flüssigkeits-Feststoff-Gemische u./o. Dämpfe u./o. Gase aus einer Durchströmplatte herausströmen, treffen sie auf einen Misch- u./o. Verwirbelungs-unterstützer, ein weiteres Steuerungselement der Vermischung u./o. Verwirbelung. Misch- u./o. Verwirbelungsunterstützer können z.B. konische oder hyperbolische Trichter sein. Verwendet man z.B.  derartige Trichter, bilden Flüssigkeiten wie Wasser durch Durchströmplatten  vorbereitete intensive Wirbel aus. Eine Flüssigkeit wie Wasser verlässt den Trichter dann in sich spiralförmig strömend bzw. wirbelnd und formt außerhalb der Misch- u./o. Verwirbelungs-vorrichtung eine in sich spiralförmig strömend bzw. wirbelnde Flüssigkeitsglocke. Die Größe und Wirbelintensität (intensiv rechtswirbelnd oder intensiv linkswirbelnd) dieser entstehenden Glocke spielen erfahrungsgemäß eine Rolle für entstehende Qualitätsverbesserungen erzeugter Flüssigkeiten. Damit z.B. eine große und intensiv wirbelnde Wasserglocke an einem gewöhnlichen Haushaltswasseranschluss mit normaler Wasserausflussmenge entstehen kann, muss der Trichter bestmöglich mit jeweiligen Durchströmplatten korrespondieren. Es sind ebenso Misch- u./o. Verwirbelungsunterstützer einsetzbar, die innerhalb geschlossener Leitungssysteminfrastrukturen funktionsfähig sind. Es sind unterschiedliche Misch- u./o. Verwirbelungsunterstützersysteme u. –verfahren funktionsfähig, je nach verwendeten Durchströmplatten und je nach Flüssigkeiten u./o. Flüssigkeits-Feststoff-Gemischen u./o.

 

Dämpfen u./o. Gasen und je nach gewünschten Effekten und Ergebnissen. Die genaue Konstruktion und Anpassung der jeweiligen Durchströmplatten an spezifische Flüssigkeiten u./o. Flüssigkeits-Feststoff-Gemische u./o. Dämpfe u./o. Gase und an die jeweiligen Misch- u. Verwirbelungsunterstützer erfordert Erfahrung und Kenntnisse der Entstehung der jeweiligen Misch- u./o.  Verwirbelungsabläufe und –strukturen. Dazu sind Analysen und häufig viele Versuche notwendig. Die Vermischungs- u./o. Verwirbelungsabläufe reagieren sehr sensibel auf kleine Veränderungen der unterschiedlichen Einzelfaktoren. Ein entsprechender Gesamteffekt  bzw. Gesamtergebnis, z.B. spürbare und deutliche Qualitätsverbesserungen  von Flüssigkeiten u./o. Flüssigkeits-Feststoff-Gemischen u./o. Dämpfen u./o. Gasen kann nur bei entsprechender Anpassung der Einzelfaktoren und einem gelungenen Zusammenspiel aller Faktoren (Synergieeffekte) erwartet bzw. erreicht werden. Es sind viele Anwendungen der Erfindung zur Flüssigkeits- u./o. Flüssigkeits-Feststoff-Gemisch- u./o. Dampf- u./o. Gasverbesserung möglich und vorstellbar. Die Wasseraufbereitung wurde angesprochen. Eine Verbesserung von Weinen, Bieren und Säften, vor allem auch geschmacklich, scheint naheliegend. Es könnte sich erweisen, dass selbst eine Qualitätsverbesserung von Blut möglich sein könnte durch ein solches Verfahren, denn es wird angenommen, dass auch Blut im Körper vielerlei Verwirbelungen ausbildet. Bei Dämpfen könnte man an eine Anwendung in Saunen denken, wobei man Wasserdämpfe in Saunen ansaugen könnte und sie dann durch die Misch- u./o. Verwirbelungsvorrichtung leiten würde, um sie dann in stark verwirbelnden Bewegungen wieder freizusetzen. Es ist möglich, dass sich hierdurch das Saunaerlebnis und die Saunawirkungen verbessern ließen. Ähnliche Möglichkeiten eröffnen sich für Luft- und andere Gasgemische, z.B. in Verbindung mit Klimaanlagen und anderen Belüftungssystemen.

 

[0006] Die Misch- u./o. Verwirbelungsvorrichtung u. –verfahren ist ebenso geeignet zum intensiven und kosteneffizienten Vermischen unterschiedlicher Substanzen. Hierzu leitet man in die einzelnen Löcher der Durchströmplatten die zu mischenden Substanzen, wiederum Flüssigkeiten u./o. Flüssigkeits-Feststoff-Gemische u./o. Dämpfe u./o. Gase. Man kann durch die Wahl der Lochgrößen und die Menge der eingeleiteten Substanz die Strömungs-geschwindigkeiten steuern. Die Austrittspunkte aus einer Durchströmplatte lassen sich ebenfalls genau festlegen. Will man zwei Substanzen miteinander vermischen, wird z.B. die Substanz A in ein Durchströmloch A  geleitet und die Substanz B in ein Durchströmloch B.  Man würde dann die Austrittspunkte von Durchströmloch A und Durchströmloch B  nahe aneinander legen, so dass es zu einer lokalen Vermischung u./o. Verwirbelung kommt. Will man nur zwei Substanzen vermischen, wiederholt man das gleiche Prinzip viele Male auf einer Durchströmplatte und erreicht damit viele lokale Vermischungen u./o. Verwirbelungen der beiden Substanzen sowie eine Vermischung u./o. Verwirbelung der vielen einzelnen Lokalvermischungen u./o. Verwirbelungen untereinander und ineinander in einer großen Gesamtvermischung u./o. Gesamtverwirbelung. Man hat dadurch die beiden Substanzen auf  intensive und kosteneffiziente Weise miteinander vermischt u./o. verwirbelt. Ein weiterer Vorteil eines derartigen Vermischungs- u./o. Verwirbelungsverfahrens ist, dass sich sehr komplexe

 

Vermischungs- u./o. Verwirbelungsabläufe mit zahlreichen Substanzen durchführen lassen, wobei sowohl die Dosierungen als auch die Austrittspunkte einzelner Substanzen genau  gesteuert werden können. Will man z.B. zuerst zwei Gase miteinander vermischen u./o. verwirbeln und parallel dazu zwei Flüssigkeiten miteinander vermischen u./o. verwirbeln, um dann das Gasgemisch und das Flüssigkeitsgemisch wiederum miteinander zu vermischen, kann man durch eine effiziente Anordnung der einzuleitenden Substanzen in eine Durchströmplatte und die Festlegung der entsprechenden Austrittspunkte der jeweiligen Substanzen, und durch Festlegung der jeweiligen Mengen und Lochgrößen sowie des geeigneten Vermisch- u./o. Verwirbelungsunterstützers den Vermischungs- u./o. Verwirbelungsablauf genau steuern. In diesem Beispiel würde man die Austrittspunkte der Gase aneinander legen und würde ebenfalls die Austrittspunkte der Flüssigkeiten aneinander legen. Hierdurch käme es dann zunächst zu lokalen Vermischungen u./o. Verwirbelungen der Gase untereinander sowie der Flüssigkeiten untereinander. In der Gesamtvermischung u./o. Gesamtverwirbelung würde sich dann das Gasgemisch mit dem Flüssigkeitsgemisch wiederum vermischen u./o. verwirbeln. Man erreicht in einem Vorgang eine intensive Gesamt-vermischung, wofür man bei anderen Vorrichtungen u. Verfahren mehrere Arbeitsschritte,  mehr Energieaufwand und mehr Platzaufwand benötigen würde. Es ist auch möglich, die Substanzen gar nicht erst ausströmen zu lassen aus einer Durchströmplatte, sondern die einzelnen Durchströmlöcher schon innerhalb einer Durchströmplatte ineinander übergehen zu lassen, so dass es schon zu lokalen Vermischungen u./o. Verwirbelungen kommt, bevor die Substanzen die Durchströmplatte verlassen. Es bieten sich zahlreiche Variationen an, wie man derartige Abläufe steuern kann. Die genaue Konstruktion einer jeweiligen Anwendung bedarf genauer Planungen, Analysen und Versuche. Es sind zahlreiche Anwendungen dieses Verfahrens möglich, z.B. in technischen und wissenschaftlichen Verfahren, in der Chemie, Biologie, Pharmazeutik, Medizin oder im Getränke- u. Nahrungsmittelbereich. 

 

 

Patentansprüche

 

 

  1. Misch- und/oder Verwirbelungsvorrichtung (5) zum Mischen und/oder Verwirbeln von Flüssigkeiten und/oder Flüssigkeits-Feststoff-Gemischen und/oder Dämpfen und/oder Gasen, umfassend einen Misch- und/oder Verwirbelungsunterstützer und mindestens eine Durchströmplatte (2), dadurch gekennzeichnet, dass die Durchströmplatte jeweils versehen ist mit mindestens drei schräg angeordneten, identischen, in kreisförmiger, gleichmäßiger Lageanordnung verteilten einfach oder paarweise angeordneten Lochformationen, bestehend aus jeweils mindestens zwei Löchern, die nahe aneinander liegen und/oder jeweils innerhalb der Durchströmplatte ineinander übergehen, wobei die Abstände zwischen den einfach angeordneten Lochformationen oder den paarweise angeordneten Lochformationen auf der Durchströmplatte jeweils gleich groß sind.
  2. Misch- und/oder Verwirbelungsvorrichtung (5) nach Anspruch 1, dadurch gekennzeichnet, dass der Misch- und/oder Verwirbelungsunterstützer eine konische Form aufweist.
  3. Misch- und/oder Verwirbelungsvorrichtung (5) nach Anspruch 1, dadurch gekennzeichnet, dass der Misch- und/oder Verwirbelungsunterstützer eine hyperbolische Form aufweist.
  4. Misch- und/oder Verwirbelungsvorrichtung (5) nach Anspruch 1, dadurch gekennzeichnet, dass der Misch- und/oder Verwirbelungsunterstützer eine kugelförmige Form aufweist.
  5. Misch- und/oder Verwirbelungsvorrichtung (5) nach Anspruch 1, dadurch gekennzeichnet, dass die mindestens eine Durchströmplatte (6) mit sechs identischen Lochformationen, die jeweils kreisförmig und gleichmäßig auf der Durchströmplatte (6) verteilt sind und jeweils aus Lochpaaren bestehen, versehen ist.
  6. Misch- und/oder Verwirbelungsvorrichtung (5) nach Anspruch 1, dadurch gekennzeichnet, dass die mindestens eine Durchströmplatte (7) mit zwölf identischen Lochformationen, die jeweils kreisförmig und gleichmäßig auf der Durchströmplatte (7) verteilt sind und jeweils aus Lochpaaren bestehen, versehen ist.
  7. Misch- und/oder Verwirbelungsvorrichtung (5) nach Anspruch 1, dadurch gekennzeichnet, dass die mindestens eine Durchströmplatte (8) mit sechzehn identischen Lochformationen, die jeweils kreisförmig und gleichmäßig auf der Durchströmplatte (8) verteilt sind und jeweils aus Lochpaaren bestehen, versehen ist.
  8. Misch- und/oder Verwirbelungsvorrichtung (5) nach Anspruch 1, dadurch gekennzeichnet, dass die mindestens eine Durchströmplatte (9) mit zwanzig identischen Lochformationen, die jeweils kreisförmig und gleichmäßig auf der Durchströmplatte (9) verteilt sind und jeweils aus Lochpaaren bestehen, versehen ist.
  9. Misch- und/oder Verwirbelungsvorrichtung (5) nach Anspruch 1, dadurch gekennzeichnet, dass die mindestens eine Durchströmplatte (10) mit vierundzwanzig identischen Lochformationen, die jeweils kreisförmig und gleichmäßig auf der Durchströmplatte (10) verteilt sind und jeweils aus Lochpaaren bestehen, versehen ist.
  10. Misch- u/o. Verwirbelungsvorrichtung (5) nach Anspruch 1, dadurch gekennzeichnet, dass die mindestens eine Durchströmplatte (11) mit dreißig identischen Lochformationen, die jeweils kreisförmig und gleichmäßig auf der Durchströmplatte (11) verteilt sind und jeweils aus Lochpaaren bestehen, versehen ist.
  11. Misch- und/oder Verwirbelungsvorrichtung (5) nach Anspruch 1,  dadurch gekennzeichnet, dass die mindestens eine Durchströmplatte (16) mit acht identischen Lochformationen, die jeweils kreisförmig und gleichmäßig auf der Durchströmplatte (16) verteilt sind und jeweils aus drei Löchern in unterschiedlichen Größen bestehen, versehen ist.
  12. Misch- und/oder Verwirbelungsvorrichtung (5) nach Anspruch 1, dadurch gekennzeichnet, dass die mindestens eine Durchströmplatte (17) mit acht identischen Lochformationen, die jeweils kreisförmig und gleichmäßig auf der Durchströmplatte (17) verteilt sind und jeweils aus Lochpaaren bestehen, versehen ist.
  13. Misch- und/oder Verwirbelungsvorrichtung (5) nach Anspruch 1, dadurch gekennzeichnet, dass die mindestens eine Durchströmplatte (18) mit acht identischen Lochformationen, die jeweils kreisförmig und gleichmäßig auf der Durchströmplatte (18) verteilt sind und jeweils aus drei gleichgroßen Löchern bestehen, versehen ist.
  14. Misch- und/oder Verwirbelungsvorrichtung (5) nach Anspruch 1, dadurch gekennzeichnet, dass die mindestens eine Durchströmplatte (19) mit acht identischen Lochformationen, die jeweils kreisförmig und gleichmäßig auf der Durchströmplatte (19) verteilt sind und jeweils aus vier gleichgroßen Löchern bestehen, versehen ist.
  15. Misch- und/oder Verwirbelungsvorrichtung (5) nach Anspruch 1, dadurch gekennzeichnet, dass die mindestens eine Durchströmplatte(20) mit acht identischen Lochformationen, die jeweils kreisförmig und gleichmäßig auf der Durchströmplatte (20) verteilt sind und jeweils aus fünf gleichgroßen, kreisförmig angeordneten Löchern bestehen, versehen ist.
  16. Misch- und/oder Verwirbelungsvorrichtung (5) nach Anspruch 1, dadurch gekennzeichnet, dass die mindestens eine Durchströmplatte (21) mit zwölf paarweise angeordneten Lochformationen, jeweils bestehend aus drei unterschiedlich großen Löchern pro Lochformation, die in Paaren kreisförmig und gleichmäßig auf der Durchströmplatte (21) verteilt sind, versehen ist.
  17. Misch- und/oder Verwirbelungsvorrichtung (5) nach Anspruch 1, dadurch gekennzeichnet, dass die mindestens eine Durchströmplatte (21) mit zwölf paarweise angeordneten Lochformationen versehen ist, wobei jede Lochformation aus drei unterschiedlich großen Löchern besteht, die in Paaren kreisförmig und gleichmäßig auf der Durchströmplatte (21) verteilt sind, kleinere Löcher mit kleineren Winkeln (23) innerhalb der Durchströmplatte (21), (22) in mittelgroße Löcher einmünden, die mittelgroßen Löcher mit mittleren Winkeln (24) ihrerseits ebenfalls innerhalb der Durchströmplatte (21), (22) in größere Löcher übergehen und die größeren Löcher die größten Winkel (25) aufweisen,
  18. Misch- und/oder Verwirbelungsvorrichtung (5) nach Anspruch 1, dadurch gekennzeichnet, dass die mindestens eine Durchströmplatte (16) mit acht identischen Lochformationen versehen ist, wobei die Lochformationen kreisförmig und gleichmäßig auf der Durchströmplatte (16) verteilt sind und jeweils aus drei Löchern in unterschiedlichen Größen bestehen, größere Löcher mit kleineren Winkeln (27) innerhalb der Durchströmplatte (16), (26) in die mittelgroße Löcher einmünden, die mittelgroßen Löcher mit mittleren Winkeln (28) ihrerseits ebenfalls innerhalb der Durchströmplatte (16), (26) in kleinere Löcher übergehen und die kleineren Löcher die größten Winkel (29) aufweisen.
  19. Misch- und/oder Verwirbelungsvorrichtung (5) nach Anspruch 1, dadurch gekennzeichnet, dass die mindestens eine Durchströmplatte (19) mit acht identischen Lochformationen versehen ist, wobei die Lochformationen kreisförmig und gleichmäßig auf der Durchströmplatte (19) verteilt sind und jeweils aus vier gleichgroßen Löchern bestehen und näher zur Mitte der Durchströmplatte (19) liegende Löcher mit kleineren Winkeln (31) innerhalb der Durchströmplatte (19), (30) in näher am Rand der Durchströmplatte (19),(30) liegende Löcher mit größeren Winkeln (32) einmünden.
  20. Misch- und/oder Verwirbelungsvorrichtung (5) nach Anspruch 1, dadurch gekennzeichnet, dass die mindestens eine Durchströmplatte (2) mit Lochformationen versehen ist, die jeweils aus innerhalb der Durchströmplatte (22) miteinander verbundenen Löchern bestehen.
  21. Misch- und/oder Verwirbelungsvorrichtung (5) nach Anspruch 17, dadurch gekennzeichnet, dass die Verlängerungen der kleineren Löcher mit kleineren Winkeln (34), der mittelgroßen Löcher mit mittleren Winkeln (35) und der größeren Löcher mit größeren Winkeln (36) außerhalb der Durchströmplatte (21), (33) aufeinandertreffen.
  22. Misch- und/oder Verwirbelungsvorrichtung (5) nach Anspruch 18, dadurch gekennzeichnet, dass die Verlängerungen der größeren Löcher mit kleineren Winkeln (38), der mittelgroßen Löcher mit mittleren Winkeln (39) und der kleineren Löcher mit größeren Winkeln (40) außerhalb der Durchströmplatte (16), (37) aufeinandertreffen.
  23. Misch- und/oder Verwirbelungsvorrichtung (5) nach Anspruch 19, dadurch gekennzeichnet, dass die Verlängerungen der näher zur Mitte der Durchströmplatte (19),(41) liegenden Löcher mit kleineren Winkeln (42) und der näher am Rand der Durchströmplatte (19),(41) liegenden Löcher mit größeren Winkeln (43) außerhalb der Durchströmplatte (19),(41) aufeinandertreffen.
  24. Misch- und/oder Verwirbelungsvorrichtung (5) nach Anspruch 1, dadurch gekennzeichnet, dass die mindestens eine Durchströmplatte (2) mit Lochformationen versehen ist, die jeweils aus außerhalb der Durchströmplatte (33) aufeinandertreffenden Löchern bestehen.

 

 

                                       Zeichnungen

 

Druckversion | Sitemap
© WST-Strahmann